系统安装

汇总性教程

内容管理

栏目管理

静态管理和缓存管理

标签和模板

模板教程

常见疑难问题

二次开发教程

动静态分离部署

首页 >  国微CMS教程 >  系统安装 >  培训基本手册( 按角色 )
7---超管后台操作必要教程 ( 主站管理员 )

 

 

超管后台操作必要教程

 

说明:本教程是让管理员全面集中掌握系统的设置操作,属于超级管理员非常重要教程

 

 

一、统一登陆入口(点击后台登录)

 

所有用户登录,都集中在此界面;  一般网址是:  动态域名/dl.html

 

主站入口:主站会员中心(发布内容) 、主站后台、主站首页

 

子站入口:各子站会员中心(发布内容) 、各子站后台、各子站首页标签、各子站首页

 

 

 

现在是进入主站门户后台!然后进行相关操作。

 

 

二、发布内容;

 

A:发布内容(后台也可发布内容,一般都是文章内容)

 

 

 

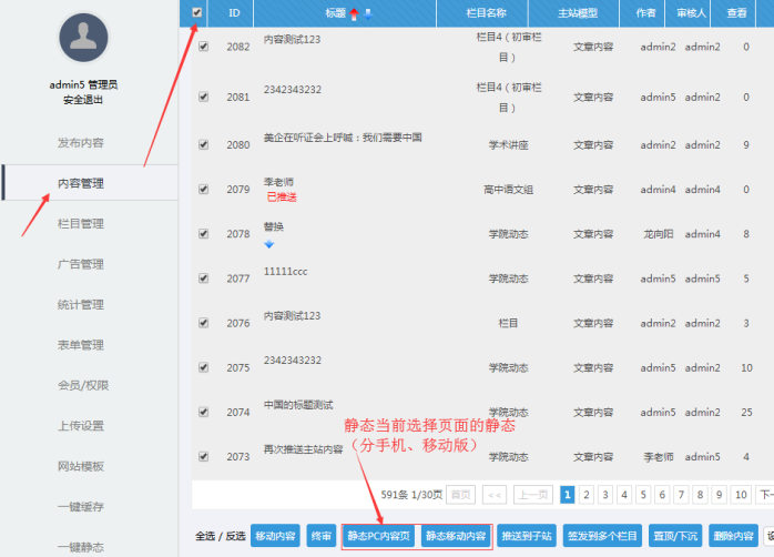
三、内容管理;

 

A:内容管理的入口位置。

 

 

 

B:内容的搜索(内容搜索 / 属性筛选搜索)

 

可以根据内容的ID、内容的关键字、发布人账号、作者名称筛选内容

 

 

 

 

C:内容的审核(点击需直接审核的,可以查看到所有待审核的内容,无论是初审还是终审)

 

 

 

 

 

 

 

 

D:内容的静态PC静态 / 移动版静态)

 

 

 

 

E:内容的删除(勾选内容后删除)

 

 

 

F:内容的移动(勾选所需内容,移动到其他栏目)

 

 

 

G:签发到多个栏目(一篇内容签发到多个栏目)

 

 

 

H:权重设置(权重大的在内容栏目前面)

 

 

 

I:属性的设置与删除(对内容属性的处理,比如头条、推荐)

 

 

 

 

 

J:内容的操作按钮(内容操作的集中按钮)

 

 

 

 

 

四、添加栏目;

 

A:可以单个添加,也可以批量添加(批量添加换行即可)

 

 

 

B:栏目类型选择

 

. 大分类:属于下面还有子栏目的情况,大分类不能发布内容,这个务必记住。

. 栏目:最小的分类,也是我们最常用的选择 ,专门用于发布内容的。

. 单网页:如果一个栏目就是一篇介绍类内容,就选择这个,主要用于政府介绍、学校介绍。

. 外链 : 选择后,输入外链地址,点击栏目即可跳转到第三方网址。

 

 

C:栏目模型选择

 

系统有多个模型,每个模型不同字段,用来存放不同要求的内容;有文章模型、图片模型、视频模型、下载模型、信息公开模型;绝大部分我们用文章模型。

. 文章内容:这个是最常用的,用来发布常规文章;里面也可以上传图片、附件下载。

. 图片内容:这个有时候也用,如果需要那种滚动式大图效果,可以选择这个模型。

. 视频内容 : 这个模型有时候也用,如果需要上传视频,此处可以操作。

. 下载模型 :  这个用的少,因为文章模型就可以上传附件,提供下载。

 

最后点击提交即可,栏目即可创建完成(其他的设置用默认即可,有需要可以再去修改)

 

 

 

 

五、栏目管理;

 

A:栏目管理入口

 

 

B:栏目预览(第一个按钮是静态页、第二个是动态,第三个是手机)

 

 

 

C:修改栏目(如果需要修改栏目名字和其他,点击此处)

 

 

 

D:添加内容(如果需要快捷在此栏目下,添加内容, 点击此处)

 

 

 

E:栏目标签和内容标签(如果需要显示此栏目和此栏目下内页的标签,分别点击此处)

 

 

 

F:栏目合并(如果需要将一个栏目的内容,合并到另外一个栏目,点击此处)

 

 

 

G:栏目克隆(如果想快速的创建一批一模一样的栏目,点击此处)

 

 

 

 

H:栏目删除(如果需要删除栏目,点击此处,实际上进去了回收站,可以一键恢复)

 

 

J:栏目和内容静态(勾选栏目,分别点击静态栏目和静态内容;前台是静态化属于开启状态;如果有内容显示不匹配,就考虑静态化)

 

 

K:静态化开启方式(变为红褐色图标即正常)

 

L:栏目的排序(数字大的在前面;平级与平级之间比较)

 

 

 

 

 

 

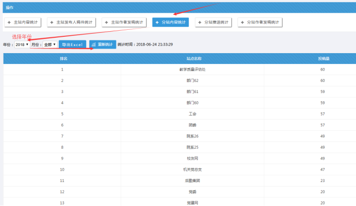
六、统计管理;

统计管理(顶部有各种统计,其中发布人和作者可以分开统计;统计的时候需要选择年份,然后点击重新统计按钮,可以导出excel)

A:主站发布人稿件统计(如果只要看主站账号发布人的稿件统计)

 

B:主站作者稿件统计(如果只要看作者的稿件统计,这个作者是一个字段,发布内容时候填写的作者名称)

 

 

C:分站内容统计(每个站点发布了多少内容)

 

 

D:分站推送给主站的内容统计(包括投稿量和采用量)

 

 

 

 

 

七、会员管理;

A:会员添加

 

 

B:会员管理(删除、修改)

 

C:勾选此处可以让管理员进入后台(分站管理员账号需要勾选)

 

 

D:勾选这两处变为超管(此处要慎重勾选)

 

 

八、后台计划任务设置;

A:比如栏目自动静态、首页自动静态、数据自动备份

 

 

九、后台附件设置;

A:比如缩略图大小设置、附件格式

 

十、广告管理;

A:比如广告的开启与投放

 

 

十一、权限管理;

A:角色前台权限设置(角色权限一般设置前台权限;角色大部分设置基础权限即可)

 

 

B:个人权限设置(在角色的权限基础之上,个人可以单独设置新增权限)

 

 

 

C:角色后台权限设置(角色后台权限需要设置的比较少,主要有几个特别的地方)

 

后台权限有如下几个地方注意:

.1) 标签管理权限(这个主要是分站管理员需要有这个)

 

 

.2) 更新分站缓存、静态首页、更新首页  (分站管理员一般都需要)

.3)内容统计权限(给主站管理员)

 

 

 

 

十二、站点管理;

A:网站群的管理都在此处

 

 

B:站群管理界面

 

 

 

 

本教程文档下载:

 

2-系统后台必要操作(超管).docx

 

 

 

 

 

 

 

 

 

 

 

相关内容