系统安装

汇总性教程

内容管理

栏目管理

静态管理和缓存管理

标签和模板

模板教程

常见疑难问题

二次开发教程

动静态分离部署

首页 >  国微CMS教程 >  汇总性教程 >  超级管理员快速掌握汇总(1天)
3--国微系统主站超管设置教程

 

 

国微系统主站超管设置教程

 

说明:本教程是让管理员全面集中掌握系统的设置操作,属于超级管理员非常重要教程

 

 

一、统一登陆入口(登录)

 

所有用户登录,都集中在此界面;  一般网址是:  动态域名/dl.html

 

主站入口:主站会员中心(发布内容) 、主站后台、主站首页

 

子站入口:各子站会员中心(发布内容) 、各子站后台、各子站首页标签、各子站首页

 

 

  

 

 

二、如何关闭和开启系统的用户注册;如何多次输入错误密码锁定账号;

 

A:为了安全,一般都关闭系统注册;采用在后台“系统设置--会员管理”添加用户。

 

 

 

 

B:如果登录密码试错几次,则锁定此账号多少分钟

 

 

 

 

 

 

 

三、如何开启“会员中心”登录是否启用验证码;

 

为系统安全,一般需要开启登录验证码;如果有时候登录验证码反复错误,则登录后台关闭验证码。

 

 

 

 

会员中心开启验证码的效果如下:

 

 

 

 

 

 

 

四、如何设置网站名称和概要

 

网站的标题、概要、关键词需要设置下;方便百度收录

 

 

 

 

五、logo如何上传设置

 

网站的logo,可以此处上传,一般传透明的png格式;上传后,需要更新模板缓存,静态首页。

 

 

 

六、如何设置开启和关闭本网站

 

有时候需要临时关闭网站,选择“否”则关闭,然后输入网站关闭提示;重新更新标签缓存和静态首页。

 

备注:关闭网站后,超级管理员还是可以看到正常页面的;其他游客看到的关闭界面效果。

 

 

 

 

七、特殊日子如何设置网站灰色显示

 

特殊纪念日子需要网站一键变灰,直接开启“是”;然后更新全站缓存、静态首页;(如果整个网站都需要变灰,则静态所有栏目和内容)

备注:如果需要能网站变灰,需要网站头部加上了对应代码

 

 

八、如何后台绑定主站域名和基域名

 

我们网站迁移的时候,这两个域名位置可以留空;但是正常运行中,一般此处都要填写域名;

填写域名后,方便站群子站不会错乱;特别是基域名需要填写。

网站域名:前面必须要有http或htpps     基域名:前面不需要htpp或htpps

 

 

 

九、是否开启静态化全局设置;如何内容第一张图片设置为封面

 

A:有时候我们需要网站访问页面时,不需要访问数据库,就将网站静态即可,第一步就需要开启静态开关(同时勾选应用到所有分类);一般此处推荐勾选是。

 

B:如果需内容封面图,默认调用编辑器内容里面的第一张图片,就勾选下面第二个“是”;一般会推荐勾选。

 

 

十、设置静态资源的存放路径

 

网站安装后,静态资源域名需要设置下,否则手机版和一些地址打开错误;特别是手机版,会出现重复两个地址。(此处一般填写自己的网站域名即可)

 

 

十一、开启手机移动版的设置

 

如果要开启手机版,就按下面设置;手机版的访问路径为:  域名/m

 

 

十二、如何修改网站后台地址

 

系统为了安全,我们一般安装后,会修改后台网址;但是“.php”这个后缀务必不能修改;前面可以是数字字母,不能是特殊符号。设置后,直接采用新的后台地址访问,比如:域名/xxx.php

 

十三、如何开启后台登录验证码

为了安全,有时登录后台,需要开启后台验证码,则点击是(一般推荐开启);如果出现登录后台验证码反复错误,则关闭验证码。

 

十四、如何创建和修改后台登录安全码

为了系统安全,我们有时候需要设置双重密码,就是安全码,安全码输入数字即可;设置后,登录后台,就需要输入这个口令才能进去。 如果要取消,则删除数字为空即可。

 

十五、如何修改网站通信密码

为了安全,每个项目安装后,都要修改通信密码,可以是任意数字字母;防止接口漏洞。

 

十六、如何修改cook让现有缓存都失效

有时候看过此网站的用户,很多浏览器缓存,反复看不到效果;管理员直接修改下cookie前缀即可;

可以是任意数字字母;修改后,需要重新登录。

 

十七、如何设置设置自动退出登录的时间

为了安全,有时候登录多久不操作就必须自动退出登录,点击此处设置即可。推荐设置为10分钟。

 

十八、如何设置附件显示不出来的解决方法

有时候突然发现所有附件地址都变了,比如“#P8_attach#”;这个时候,就可以设置下附件入库处理“是”;然后更新全站缓存,静态页面即可。

 

十九、如何开启动静态分离全局设置

现在大型项目,一般都采用动静态分离部署;就需要开启动静态分离设置,并输入动态主站网站域名(就是你现在打开动态后台网站域名);

有时候站群的分站栏目展不开,也是需要填写此处。

 

二十、如何设置”防攻击模式”和”反跨站请求伪造”的安全模式

为了系统安全,我们需要设置此处;特别是“开启攻击防护模式”将极大的屏蔽大部分攻击;

”反跨站请求伪造”开启的时候,需要注意是不是在采集,采集的时候需要关闭;如果登录反复出现问题,可以考虑暂时关闭。

 

二十一、出现问题时候,如何开启错误调试查看原因

网站运行总会出现各种问题,如果要排查问题,第一时间,就是开启错误调试,查看错误提示,切图给工程师。

 

 

二十二、如何添加内容敏感词

发布内容的时候,如果有敏感词,发布内容就会提示预警。可以单个手工添加。

如果批量添加,记事本必须用utf8格式,里面每个关键词占据一行。

 

 

 

 

二十三、如何设置全局ip控制(分局域网内网和外网)

为了方便我们对各个栏目、内容、站点开启只供局域网内访问,我们可以设置公共的局域网访问IP段。里面包括了允许公网ip、局域网IP段等。

 

二十四、如何设置后台只能局域网或特定IP登录

设定只有哪些IP可以登录后台;我们可以直接勾选“仅局域网访问”后台。

 

二十五、设置白名单让整个网站只允许特定IP访问

我们设置只允许哪些IP可以访问本网站;不过设置此处后,禁止类IP就失效了。

 

二十六、设置IP黑名单不允许特定IP访问

我们设置只允许哪些IP不可以访问本网站;设置此处后,白名单就失效了。

 

 

 

二十七、如何启用栏目、内容页、子站为局域网访问

A:本栏目只允许局域网访问;后台-栏目管理----编辑栏目---权限设置----启用仅限局域网访问

 

B:本内容只允许局域网访问;后台-内容管理----编辑内容---其他设置----启用仅限局域网访问

 

 

C:本站点只允许局域网访问;后台--站群系统----编辑站点---更多选项----启用仅限局域网访问

 

 

 

 

 

二十八、如何操作安全扫描对比

为了确定我们现在运行的代码,是否被黑客篡改;我们就进行下不同版本的校验即可。

A:安装网站后,我们一般都需要创建一个校验版本;点击“重建扫描对比文件”,一般需要5分钟。

当然我们任何时候都可以设置自己所需的校验源头版本。并且自己命名。

B:如果我们需要确认,我们现在的代码有没有被篡改,就重新点击“重建扫描版本”,扫描成功后,刷新。勾选自己的版本和之前的校验版本;进行对比扫描,就可以看到核心代码是否被修改。

 

 

 

 

 

二十九、如何设置数据自动备份机制

除了我们用服务器脚本进行数据自动备份外,我们系统支持后台自动备份;添加计划任务的方式即可。

如果没有默认的,就点击“添加计划任务”

 

输入如下操作:

 

脚本代码是: db_backup.php           一般设置5天备份一次;

 

数据备份的位置在:网站根目录----data----db_backup

 

 

 

三十、如何设置自动静态PC和移动首页机制

同上,也是计划任务;主要是自动静态网站首页。

计划任务脚本:cms_index_to_html.php    时间间隔:5分钟左右

 

三十一、如何设置自动静态栏目大列表

同上,也是利用计划任务,他的作用是静态主站大列表;因为大列表默认不自动静态。

脚本:cms_list_to_html.php?cid=831,12865      这个数字是栏目ID,后面可以按格式添加ID

 

 

三十二、如何设置自动静态站群子站栏目大列表

同上,也是利用计划任务,他的作用是静态站群子站大列表;因为大列表默认不自动静态。

脚本:csites_list_to_html.php?site=school01&cid=12865,12895      这个school01是子站名称,数字是栏目ID,后面可以按格式添加ID

 

 

 

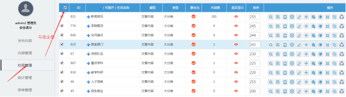
三十三、主站栏目静态如何开启和关闭

A:如果网站需要可以静态化,除了开启全局静态设置外,主站的栏目管理处,也需要开启栏目静态。

操作:栏目管理-----勾选所有栏目

 

B:静态开启

“开启所有静态”:表示栏目和内容都开启静态了;我们一般选择开启此处;他的效果状态是“红色”

“开启仅内容静态”表示只开启内容静态,栏目不开启。他的效果状态是“蓝色”

 

 

 

三十四、内容缩略图大小设置

有时候我们需要设置封面缩略图的大小尺寸,让他不模糊;可以通过设置合适的缩略图大小尺寸;

需要看到效果的话,要重新上传图片查看。

同时可以设置内容页里面的图片大小尺寸,一般默认效果是合适的,如果需要变大,则根据自己需要设置;同样我们要查看效果,需要重新上传。

 

三十五、如何设置主站和子站属性权限

A:主站属性权限设置

我们需要让哪些角色可以设置属性,比如头条、推荐、幻灯片。那么就需要设置下这个功能。

需要哪个角色可以管理哪个属性,就对应勾选即可。

 

B:站群子站的属性权限设置

 

点击图标位置,进入站群子站属性设置

 

 

然后勾选各自角色所需的属性功能;一般选择“分站管理员”角色;让分站管理员可以设置子站的属性。当然对主站的终审编辑组也可以设置,他权限大点没有关系。

 

三十六、附件上传权限设置

为了安全,我们进行要进行附件格式的控制;此处为允许上传附件的总开关;添加允许上传的附件格式。

 

 

总开关设置后,还可以控制各个角色允许上传的附件类型;其中游客原则上不允许上传附件;其他角色根据情况定义。

 

 

 

 

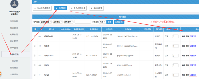
三十七、角色权限如何设置

如果我们需要对不同的角色,设置不同权限,点击此处;我们一般“设置前台权限”即可,他管控着内容浏览、内容发布、内容管理。

 

有时候需要设置角色后台权限,点击此处,比如设置更新缓存、静态栏目、标签编辑等权限:

 

 

 

三十八、个人权限如何设置

同时又可设置个人权限;让每个人都有个性化的管理权限,比如张老师管理通知公告,李老师管理新闻资讯,他们可以是属于同一个角色。

备注:个人权限设置后,他不仅继承了所属的角色权限,还额外增加了自己的个性化权限。其中角色已有的权限,在个人权限设置中,不管你选不选,他都会默认继承。

 

三十九、如何修改主站模板

如果一键切换模板,选择所需模板,点击提交;然后更新模板缓存(或全站缓存)----静态首页(其他栏目和内容页需要静态)--在刷新看看效果。 备注:新模板如果没有标签,就需要另外导入

 

四十、如何修改主站手机移动版模板

选择手机版模板的方法,点击提交;然后更新模板缓存(或全站缓存)----静态移动版首页(其他栏目和内容页需要静态)--在刷新看看效果。

 

四十一、如何修改站群子站模板

选择站群子站模板方法;进入网站后台---站群系统----编辑站点----选择模板----点击提交

 

 

点击提交后;然后更新模板缓存(或全站缓存)----静态分站首页(其他栏目和内容页需要静态)--在刷新看看效果。备注:切换模板后,模板的logo和标签需要重新导入,负责是空白。

 

四十二、如何禁止主站模板编辑修改

如果网站已经上线完整了,我们不允许任何修改模板了,点击此处。

 

 

 

本文档教程下载:

 

4-国微系统操作设置(主站超管).docx

 

 

 

 

 

 

 

 

 

 

相关内容