国微主站栏目常用功能
栏目管理涉及的功能比较丰富,可以达到各种效果;比如
进入主站栏目管理
A:先登录后台------点击“栏目管理”------就可以进行栏目管理了;

B:栏目管理的基础按钮认识:
优先静态预览:栏目静态化后,可以点击预览静态地址; 优先动态预览:静态下,如果要查看动态地址,点击此处;
手机版预览:在电脑上查看手机版栏目预览; 添加栏目:快捷添加栏目
添加内容:在此栏目下添加内容(一般会员中心添加); 栏目标签:点击此处,可以进入此栏目的标签可视化状态
内页标签:点击此处,可以进入内页可视化标签状态; 栏目合并:将此栏目合并到其他栏目
栏目克隆:创建一个一模一样的栏目或整个大分类 栏目回收箱:类似删除功能,只是删除 的栏目可以恢复

C:底部的批量操作按钮:

常用功能操作如下
一、栏目收缩的展开操作
有时候如果要展开栏目操作,点击上述的加号按钮;点击顶部的是全部展开

二、栏目排序操作
可以批量对栏目进行排序,数字大的排在前面;(根据类型字段,可以看到它是属于大分类,还是栏目)
大分类排序:大分类和大分类的数字比;大的在前面。
栏目排序:同属一个大分类的小栏目,也是栏目和栏目数字比。和其他大分类的栏目数字大小无关。

设置后,在栏目管理底部可以点击进行排序:

三、更新栏目缓存
如果栏目预览和数据展示有异常,可以考虑更新下栏目缓存。(不需要勾选栏目的)

四、重新统计栏目内容数
当前台内容数量显示不正确的时候,就点击重新统计栏目内容数。(不需要勾选栏目的)

五、栏目预览:PC动态预览 / 静态预览 / 移动版预览
我们需要各种状态的预览;一方面获得效果查看,还有一种是获得地址。
PC静态预览: 如果栏目设置了静态,此按钮优先预览静态;格式比如:域名/html/1285/ ; 如果没有静态,打开此按钮是动态地址。
PC动态备用预览地址:如果网站静态化了,我们需要查看动态效果的时候,就点击此处。
移动版预览:如果要查看移动版的栏目预览,点击此处(它是动态地址)。

六、栏目上添加子栏目
点击”添加栏目”的加号按钮------进入栏目添加状态;
如果需要再后台添加子栏目,点击此处,这里添加栏目有个好处就是,不用再选择栏目归属和模型,节省时间。

七、栏目上添加内容
如果需要再后台添加内容的时候,点击此处(一般我们发布内容和修改内容,都是会员中心)

八、进入栏目/内页标签状态 按钮
如果我们需要进入该栏目的标签状态,进行图片替换和标签样式替换,点击此处。 内页也是同样效果。

效果如下:

九、栏目内容合并
将一个栏目的内容,合并到另外一个栏目;合并后,如果这个栏目不用了,可以删除。

十、栏目克隆的操作
登陆后台------进入栏目管理------点击克隆按钮-------选择克隆栏目的归属-----点击确定
克隆的栏目,和目标栏目一样的模板等设置,所有参数都一模一样。


备注:我们可以克隆一个栏目, 也可以克隆整个大分类(里面的子栏目也克隆了)
十一、修改编辑栏目
栏目是经常会修改的,对栏目名称、模板选择、IP限定、内容条数修改;

修改栏目可以很多项次:这个会有更详细的教程

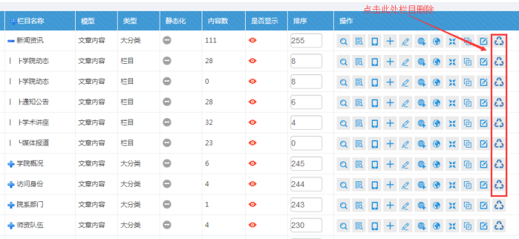
十二、栏目删除
登陆后台------进入栏目管理------点击删除栏目(栏目就进入了回收站,如果觉得是误删,可以恢复)
单个栏目删除按钮:

批量删除栏目按钮:
